347 ₽
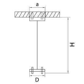
Комплект настенно-потолочного крепления для светодиодных панелей (UL-00000422) Uniel UFL-F02 Silver
422 ₽
Соединитель для трековых светильников (комплект подвесов для шинопровода, 2шт) Feron CAB1002 10326







































































